飒瑞证卡打印机获得美国发明专利证书

       近日,赛尔瑞收到一份来自美国的文件,这是一份美国发明专利授权证书,意味着,由赛尔瑞提出的一项发明专利申请正式获得通过。
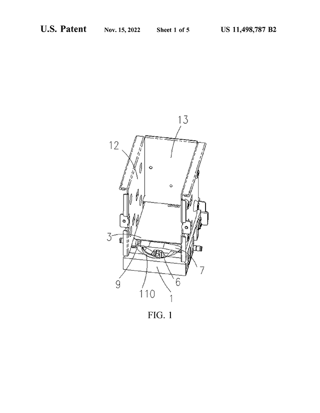
       据赛尔瑞研发团队的相关人员介绍,此次获得的美国发明专利是“进卡装置和具有该进卡装置的证卡打印机”(专利号:US11,498,787B2)。赛尔瑞首创性的提出了这种证卡打印机进卡装置,可以确保用户在使用过程中获得100%的进卡成功率,而且可以有效地避免重叠进卡、进卡不顺畅等缺点,极大的提高了用户使用的体验感。
       一直以来,赛尔瑞以“中国智造”为己任。致力于自主研发并且重视知识产权,着眼于在全球布局专利技术保护。这次的美国发明专利只是公司众多专利技术之一,赛尔瑞的研发工作一直在前进。
       赛尔瑞自成立以来,在证卡打印机领域有着20多年的技术沉淀。始终秉承“卓越品质,完美服务”的经营理念,在工作中坚持“掌握核心技术,本土化服务”的原则,通过“标准化、制度化、人性化、专业化”的四化管理。引聚业界英才,致力于新技术、新产品的研发和创新,积极打造拥有自主知识产权的核心竞争力和企业品牌。
       赛尔瑞旗下的“飒瑞”证卡打印机,在行业内得到了广大客户的一致好评。这样的好评来源于技术实力和企业自信。未来,将会更好!

LATST NEWS



©2002-2026 深圳市赛尔瑞科技有限公司 版权所有.

粤公网安备 44030602003713号 粤ICP备2021013703号
你在这里: Home > 新闻 > 公司新闻